Bouchon de fin de ligne à embout mâle NF 136-GAZ
Code produit : 46127
Raccords NF 136-GAZ
Domaines d'application
Bouchons à embout mâle en polyéthylène (PE) pour les systèmes de canalisations destinées à la distribution de combustibles gazeux et à leurs assemblages avec des composants en PE et autres matières, destinés à être utilisés une pression maximale de service, MOP, jusques et y compris 10 bars et à une température de service de 20 °C, comme température de référence.
Caractéristiques techniques
Matière
PEHD.
Références normatives NF EN 1555-3 : Systèmes de canalisations en plastique pour la distribution de combustibles gazeux — Polyéthylène (PE) — Partie 3 : raccords Certification Marque NF 136-GAZ
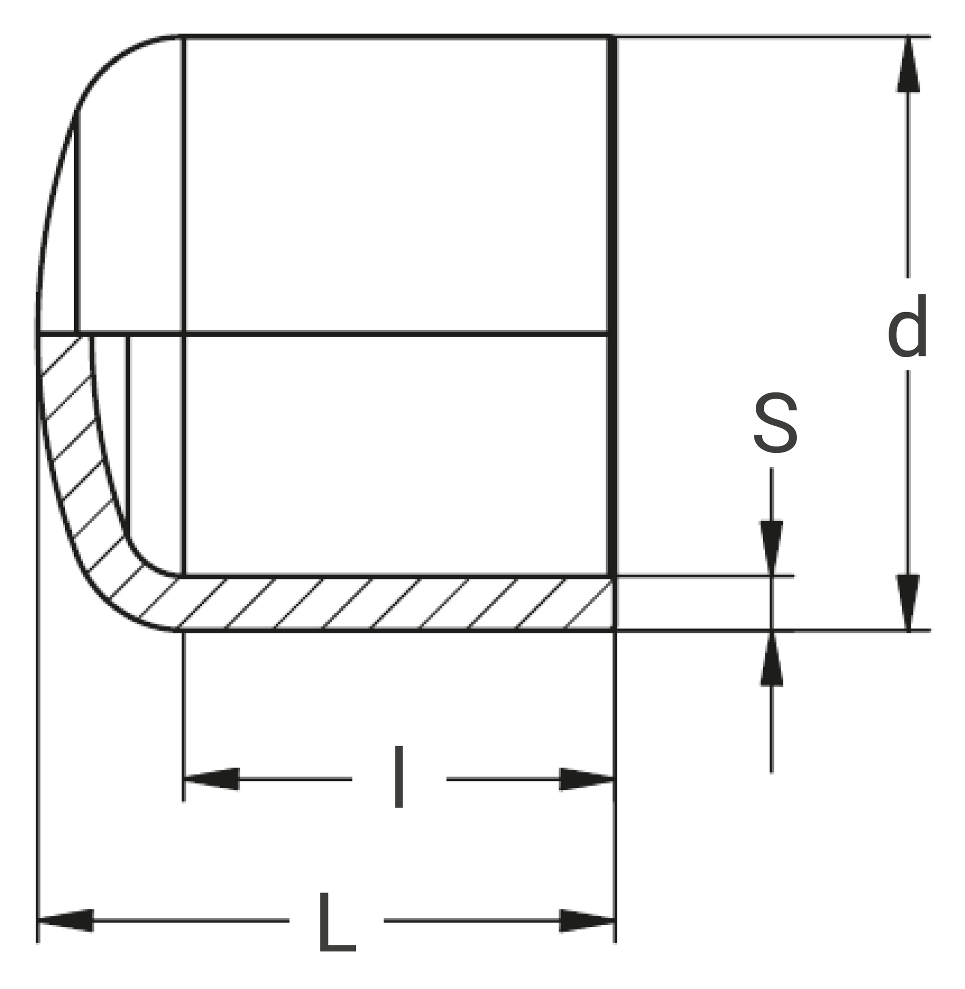
Références et dimensions
| Référence | d | L | S | l | PN à 20°C | Fiche tech. |
|---|---|---|---|---|---|---|
| 46127160 | 160 | 134 | 14,6 | 120 | 10 | Télécharger Fiche tech. |
| 46127200 | 200 | 184 | 18,2 | 146 | 10 | Télécharger Fiche tech. |
Schéma technique pour le produit :

Informations logistiques
| Pièce | Carton | ||||
|---|---|---|---|---|---|
| Référence | Larg. (mm) | Prof. (mm) | Haut. (mm) | Poids (kg) | Qté |
| 46127160 | 134 | 160 | 160 | 0,95 | 18 |
| 46127200 | 184 | 200 | 200 | 1,89 | 10 |
