Manchon de réparation à compression Série 7
Code produit : 7610
Raccords à compression
Raccord de réparation à compression pour systèmes de canalisations sous pression.
Permet la réparation d'un tube en PEHD endommagé à hauteur de la longueur utile ou l'assemblage de 2 tubes en PEHD de diamètres égaux.
Disponible en PN16 du d20 à 125mm (hors d75 à 110mm - voir manchon de réparation millenium 87610).
Les produits
- Etanchéité indépendante du serrage - Usinage de la gorge du joint dans la masse du corps. Cette gorge n’est pas rapportée en utilisant un insert. Elle est fixe et adaptée au joint. C’est la meilleure garantie pour l’étanchéité de l’assemblage.
- Insertion du tube sans démontage du raccord, chanfreinage conseillé.
- Manchon long et sans butée centrale.
Domaines d'application
Irrigation - Adduction d'eau brute ou destinée à la consommation humaine.
Température du fluide : max 40°C, détimbrage à partir de 20°C.
Caractéristiques techniques
Matière
Corps : Polypropylène, copolymère haute qualité. Ecrous : Polypropylène, copolymère haute qualité. Bagues de crampage : Polyacétal.
Références normatives ISO 17885: 2021 - Systèmes de canalisations en plastiques — Raccords mécaniques pour les canalisations sous pression — Spécifications Certification Attestation de Conformité Sanitaire (ACS)
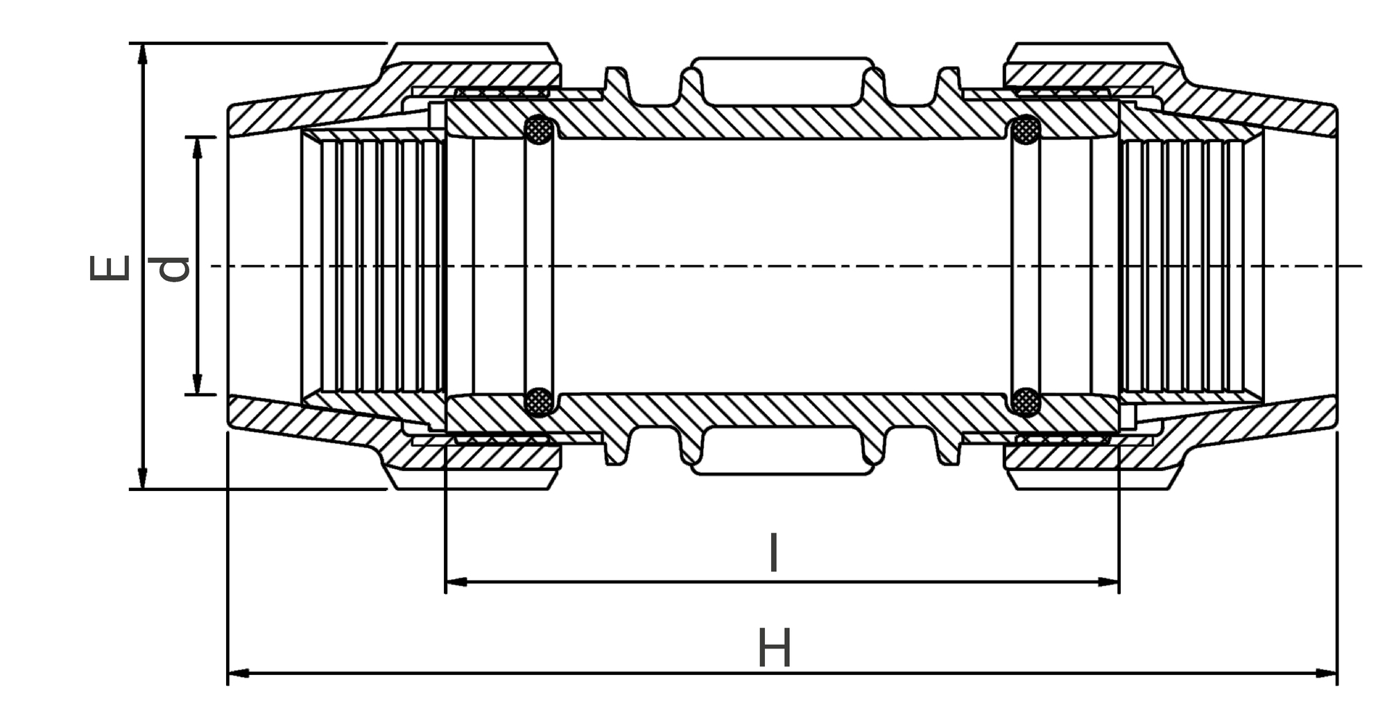
Références et dimensions
| Référence | d | H | E | I | PN à 20°C | Fiche tech. | CAD |
|---|---|---|---|---|---|---|---|
| 761020 | 20 | 122 | 48 | 78 | 16 | Télécharger Fiche tech. | Télécharger CAD |
| 761025 | 25 | 136 | 54 | 90 | 16 | Télécharger Fiche tech. | Télécharger CAD |
| 761032 | 32 | 174 | 64 | 120 | 16 | Télécharger Fiche tech. | Télécharger CAD |
| 761040 | 40 | 215 | 82 | 148 | 16 | Télécharger Fiche tech. | Télécharger CAD |
| 761050 | 50 | 244 | 96 | 158 | 16 | Télécharger Fiche tech. | Télécharger CAD |
| 761063 | 63 | 270 | 113 | 170 | 16 | Télécharger Fiche tech. | Télécharger CAD |
| 7610125 | 125 | 460 | 212 | 265 | 16 | Télécharger Fiche tech. | Télécharger CAD |
Schéma technique pour le produit :

Accessoires
Vidéos
Nos formations
Plasson France accompagne vos équipes dans l’apprentissage des bonnes pratiques de raccordement du PE.
Découvrir nos formationsOutillage de mise en oeuvre
Informations logistiques
| Pièce | Sachet | Carton | |||||||||
|---|---|---|---|---|---|---|---|---|---|---|---|
| Référence | Larg. (mm) | Prof. (mm) | Haut. (mm) | Poids (kg) | Poids (kg) | Qté | Larg. (mm) | Prof. (mm) | Haut. (mm) | Qté | Poids (kg) |
| 761020 | 125 | 50 | 50 | 0,14 | 1,4 | 10 | 570 | 490 | 330 | 240 | 35 |
| 761025 | 140 | 55 | 55 | 0,12 | 1,2 | 10 | 570 | 490 | 330 | 150 | 19,4 |
| 761032 | 175 | 65 | 65 | 0,2 | 1 | 5 | 570 | 490 | 330 | 80 | 17,4 |
| 761040 | 215 | 80 | 80 | 0,36 | - | - | 570 | 490 | 330 | 55 | 21,2 |
| 761050 | 245 | 95 | 95 | 0,54 | - | - | 570 | 490 | 330 | 30 | 17,6 |
| 761063 | 270 | 110 | 110 | 0,84 | - | - | 570 | 490 | 330 | 24 | 21,56 |
| 7610125 | 280 | 130 | 130 | 5,32 | - | - | 570 | 490 | 330 | 3 | 17,36 |
