Bouchon de fin de ligne millenium à compression Série 7
Code produit : 87120
Raccords à compression
Bouchon à compression millenium pour systèmes de canalisations sous pression.
Permet l'assemblage d'un tube en PEHD afin de fermer une canalisation.
Fermeture temporaire ou permanente. Démontable.
Disponible en PN16 du d75 à 110mm.
Les produits
- Etanchéité dépendante du serrage
- Insertion du tube sans démontage du raccord. Compression du joint puis de la bague sur le tube.
- Pas nécessaire de chanfreiner.
- Joint spécifique. Le profil du joint reprend la forme d’un tore à la compression.
Domaines d'application
Irrigation - Adduction d'eau brute ou destinée à la consommation humaine.
Température du fluide : max 40°C, détimbrage à partir de 20°C.
Caractéristiques techniques
Matière
Corps : Polypropylène, copolymère haute qualité. Ecrous : Polypropylène, copolymère haute qualité. Joints : NBR. Bagues de crampage : Polyacétal.
Références normatives ISO 17885: 2021 - Systèmes de canalisations en plastiques — Raccords mécaniques pour les canalisations sous pression — Spécifications Certification Attestation de Conformité Sanitaire (ACS)
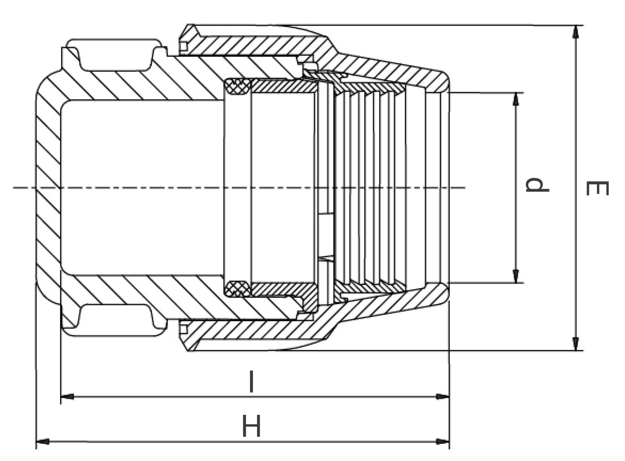
Références et dimensions
| Référence | d | H | E | I | PN à 20°C | Fiche tech. | CAD |
|---|---|---|---|---|---|---|---|
| 8712075 | 75 | 177 | 132 | 161 | 16 | Télécharger Fiche tech. | Télécharger CAD |
| 8712090 | 90 | 211 | 152 | 169 | 16 | Télécharger Fiche tech. | Télécharger CAD |
| 87120110 | 110 | 234 | 181 | 221 | 16 | Télécharger Fiche tech. | Télécharger CAD |
Schéma technique pour le produit :

Accessoires
Vidéos
Nos formations
Plasson France accompagne vos équipes dans l’apprentissage des bonnes pratiques de raccordement du PE.
Découvrir nos formationsOutillage de mise en oeuvre
Ressources
Fiche technique - Bouchon de fin de ligne millenium - 87120
(application/pdf, 173.19 ko)Fiche de mise en oeuvre - Bouchon de fin de ligne millenium - 87120
(application/pdf, 598.04 ko)Attestation de Conformité Sanitaire (ACS) - Bouchon de fin de ligne millenium - 87120
(application/pdf, 1038.23 ko)Informations logistiques
| Pièce | Carton | ||||||||
|---|---|---|---|---|---|---|---|---|---|
| Référence | Larg. (mm) | Prof. (mm) | Haut. (mm) | Poids (kg) | Larg. (mm) | Prof. (mm) | Haut. (mm) | Qté | Poids (kg) |
| 8712075 | 180 | 125 | 125 | 0,74 | 570 | 490 | 330 | 28 | 22,12 |
| 8712090 | 215 | 145 | 145 | 1,08 | 570 | 490 | 330 | 16 | 18,68 |
| 87120110 | 235 | 175 | 175 | 1,92 | 570 | 490 | 330 | 10 | 20,6 |
