Raccord à embouts mâles en Y PN16
Code produit : GEOY
Raccords pour la géothermie
Domaines d'application
Raccords à embouts mâles pour les systèmes de canalisations en polyéthylène (PE) dans le domaine de l'alimentation en eau destinée à la consommation humaine, y compris le transport des eaux brutes avant traitement, et leurs assemblages avec des composants en PE et d’autres matériaux destinés à être utilisés sous pression et à une température de service de 20 °C comme température de référence, pouvant atteindre un maximum de 40° (au delà de 20°C, appliquer un coefficient de détimbrage).
Caractéristiques techniques
Matière
PEHD.
Références normatives NF EN 12201-3 : Systèmes de canalisations en plastique pour l'alimentation en eau et pour les branchements et les collecteurs d'assainissement avec pression - Polyéthylène (PE) - Partie 3 : raccords Certification Attestation de Conformité Sanitaire (ACS)
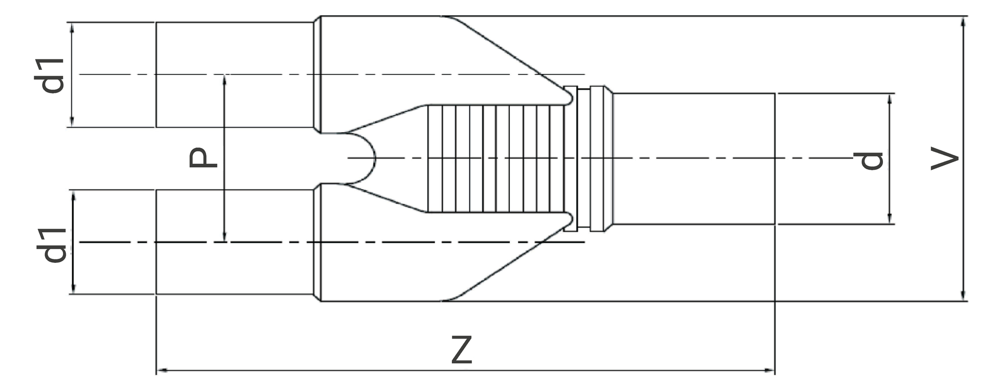
Références et dimensions
| Référence | d x d1 | Z | V | P | Pour tubes SDR | PN à 20°C | Fiche tech. |
|---|---|---|---|---|---|---|---|
| GEO032Y | 40 x 32 | 168 | 86 | 52 | 11 | 16 | Télécharger Fiche tech. |
| GEO040Y | 50 x 40 | 168 | 105 | 61 | 11 | 16 | Télécharger Fiche tech. |
Adapté à la géothermie.
Schéma technique pour le produit :

Informations logistiques
| Pièce | ||||
|---|---|---|---|---|
| Référence | Larg. (mm) | Prof. (mm) | Haut. (mm) | Poids (kg) |
| GEO032Y | 168 | 86 | 86 | 0,1 |
| GEO040Y | 168 | 105 | 105 | 0,2 |
